nile-sea.ru
nile-sea.ru

리플 블랭크 인풋 (98) 사진

Buy Ripple Sconce From RBW | Top Designer LED Lighting Manufacturer Company  in New York

수배전반용 정류기 Instruction Manual 사용설명서

CSS] 왜 transform 애니메이션 성능이 좋을까? (with. GPU, Reflow) :: Mong dev blog

UC1843-SP 데이터 시트, 제품 정보 및 지원 | TI.com

냉각 | FLOW-3D

온라인 경제독서모임 <돈책클럽> 5기 모집 시작합니다. 9월 1일 월요일 시작, 8월 31일 모집 마감. 5기부터는 <돈책 딥 다이브  1편: 소비> 시리즈도 함께 모집합니다! 자세한 정보는 첨부 프로필 링크 블로그 참고해주세요~ ⠀ ⠀

레이저 | FLOW-3D

MODEL: M8DY

콤팩트 직류 안정화 전원 PMX-A 시리즈

PowerPoint 演示文稿

카페24 스토어 - 브이리뷰 - 1위 브랜드들의 AI 리뷰 매니저

Opentop 프로그래머 블록 소켓 벤치

정류기 만드는 방법:자세한 가이드

Automatic Creation of ShEx Schemas for RML-Based RDF Knowledge Graph  Validation

크롬북 사용기 : 싸고 좋은 컴퓨터가 실제로 있을까

M-SYSTEM M2WVS DC신호변환기 1입력 2 출력 아이솔레이터 > 신호변환기 | 카스코리아

Microsoft Word 및 Calibre와 함께 ePub 및 Mobi 파일 형식으로 책을 내보내세요 – 드라이브 스루 파트너

Framer Space 블로그 | Framer가 React로 사이트를 구축하는 이유

Ripple Boucle Euro Sham - Cream White | QE Home

프로프리젠터 7 가이드북 | 디브이네스트 - 교보문고

Fluke MDA-500 시리즈 | Fluke

카페24 스토어 - 브이리뷰 - 1위 브랜드들의 AI 리뷰 매니저

LCS702HG)를 사용한 150W 역률 보정 LLC 파워 서플라이에 대한 레퍼런스 디자인 보고서

32. [HTML / CSS 심화]

Yottacontrol

Replit 사용법, 30분 만에 기획부터 웹 서비스 배포까지

LCS702HG)를 사용한 150W 역률 보정 LLC 파워 서플라이에 대한 레퍼런스 디자인 보고서

Blank Sailings 2025: The Shipping Crisis Driving Up Costs and Delays -  TRADLINX Blogs

TPS7H6023-SP 데이터 시트, 제품 정보 및 지원 | TI.com

Buy Ripple Corded From RBW | Top Designer LED Lighting Manufacturer Company  in New York

1. Playwright 시작해보기

Untitled

Buy Ripple Sconce From RBW | Top Designer LED Lighting Manufacturer Company  in New York

Buy Ripple Sconce From RBW | Top Designer LED Lighting Manufacturer Company  in New York

Android] Compose에서 Pinch Zoom 구현하기

Untitled

Jenkins CI with Kubernetes | KKamJi

TPS7H5005-SEP 데이터 시트, 제품 정보 및 지원 | TI.com

지상국 사용 설명서

DaVinci Resolve – Studio | Blackmagic Design

SLX 시리즈 디지털 1U 전원 공급 장치 1.5kW ~ 10kW | Magna-Power 한국 (Hanguk)

프로그래머블 DC 전원공급기 제품 | Magna-Power 한국 (Hanguk)

Buy Ripple Sconce From RBW | Top Designer LED Lighting Manufacturer Company  in New York

전하 | FLOW-3D

슬라이드 작업

LCS702HG)를 사용한 150W 역률 보정 LLC 파워 서플라이에 대한 레퍼런스 디자인 보고서

중대재해 감축 로드맵 이행성과지표 개발

지상국 사용 설명서

multiScan165S, 8029222

카페24 스토어 - 브이리뷰 - 1위 브랜드들의 AI 리뷰 매니저

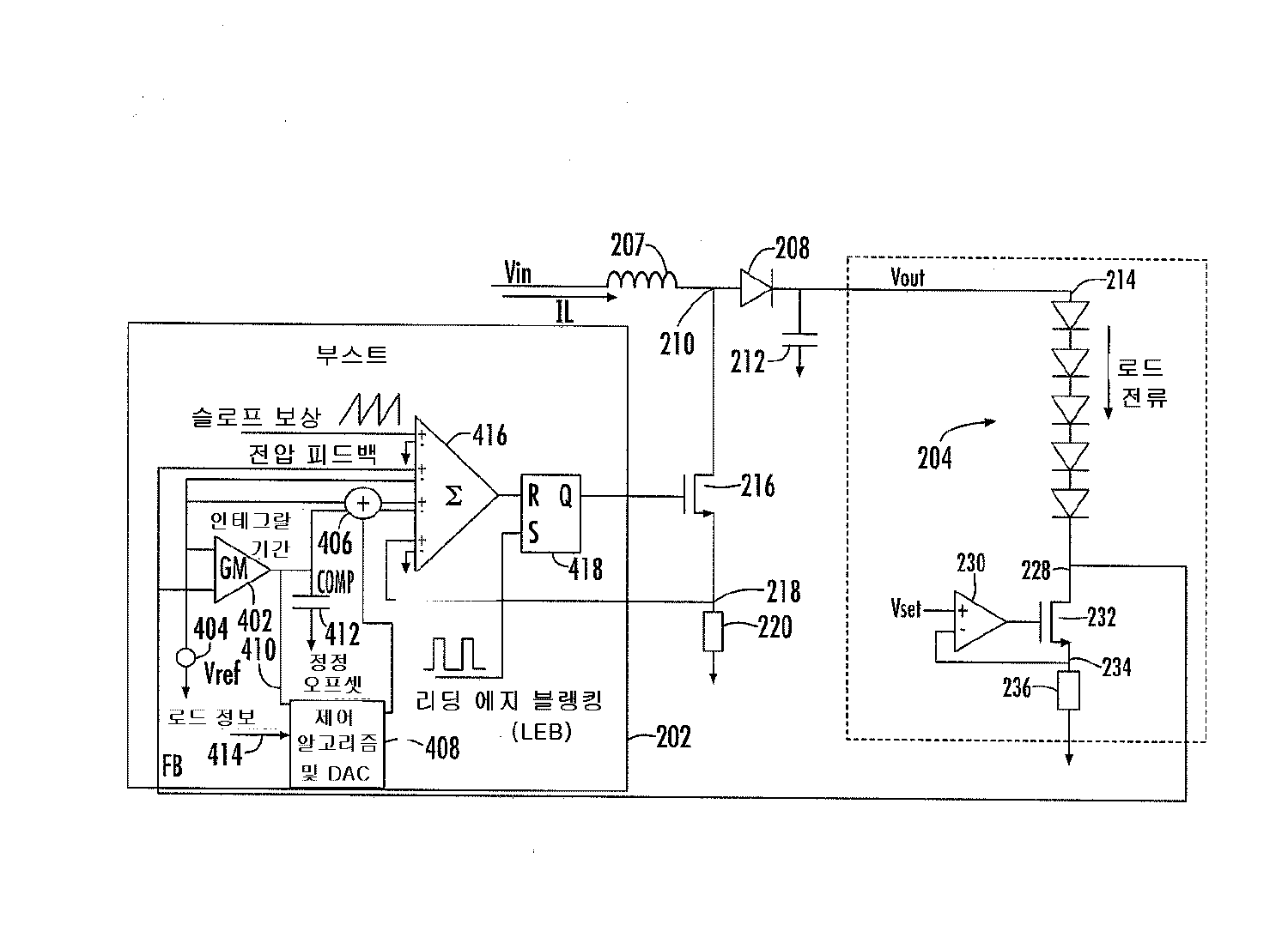
KR20100008353A - Led 드라이버를 위한 동적 헤드룸 제어 - Google Patents

Volume 6 • Number 3 • September 2024

LCS702HG)를 사용한 150W 역률 보정 LLC 파워 서플라이에 대한 레퍼런스 디자인 보고서

Real-Time Process Automation Made Simple | Tango

TextField] Long labels break layout · Issue #12255 · mui/material-ui

LCS702HG)를 사용한 150W 역률 보정 LLC 파워 서플라이에 대한 레퍼런스 디자인 보고서

CLEAN_Inside the house

오픈소스 블록체인 플랫폼 동향

유체 | Ansys Learning Forum

온라인 경제독서모임 <돈책클럽> 5기 모집 시작합니다. 9월 1일 월요일 시작, 8월 31일 모집 마감. 5기부터는 <돈책 딥 다이브  1편: 소비> 시리즈도 함께 모집합니다! 자세한 정보는 첨부 프로필 링크 블로그 참고해주세요~ ⠀ ⠀

Untitled

웹 기술로 구현한, 네이티브에 가까운 바텀시트 | VINU 팀 | 테크블로그

기공 | FLOW-3D

SMC INR-498-016C 칠러 판매 가격 #9236705에 사용됨 > CAE에서 구매

미래 여건 변화에 대응한 항공운송산업 발전 전략 연구 국 토 교 통 부

PowerPoint 演示文稿

New Products Info】RunnerExceed 100BMH | リップルフィッシャーリップルフィッシャー

reflow - 데이터 보는 습관을 만드는 가장 쉬운 툴

SN65DSI83 데이터 시트, 제품 정보 및 지원 | TI.com

전하 | FLOW-3D

지상국 사용 설명서

Python] 파이썬 웹크롤링봇 만들기 -4- 파싱툴을 활용한 본문 추출하기 — Steemit

Untitled

Automatic Creation of ShEx Schemas for RML-Based RDF Knowledge Graph  Validation

웹 기술로 구현한, 네이티브에 가까운 바텀시트 | VINU 팀 | 테크블로그

Heterogeneous Integration

카페24 스토어

DevTools의 새로운 기능, Chrome 131 | Blog | Chrome for Developers

DevTools의 새로운 기능, Chrome 131 | Blog | Chrome for Developers

A dSPACE-based implementation of ANFIS and predictive current control for a  single phase boost power factor corrector | Scientific Reports

Untitled

OCI] Oracle Cloud 인스턴스 셋팅 : 2-4. Ubuntu 20.04 xRDP 설정 및 원격 데스크탑 연결

Buy Ripple Sconce From RBW | Top Designer LED Lighting Manufacturer Company  in New York

Replit 사용법, 30분 만에 기획부터 웹 서비스 배포까지

스위칭 전원

Replit 사용법, 30분 만에 기획부터 웹 서비스 배포까지

MODEL: R7L

DevTools의 새로운 기능 (Chrome 70) | Blog | Chrome for Developers

JavaScript - 웹 스터디

Replit 사용법, 30분 만에 기획부터 웹 서비스 배포까지

MINI MCR-SL-UI-UI-NC - 입력 시그널 컨디셔너 - 2864150 | Phoenix Contact

이제껏 가장 큰 과전류 보호 기능 탑재

Automatic Creation of ShEx Schemas for RML-Based RDF Knowledge Graph  Validation

ELLEEN EM - GLight BACK LIT - RIPPLE FREE

TEXIO PS-A/PS-AR | 한국굿윌인스트루먼트(주)

기공 | FLOW-3D

웹 기술로 구현한, 네이티브에 가까운 바텀시트 | VINU 팀 | 테크블로그

29 январь 0 0
2023 copyright text.